Описание Приточно-вытяжная установка ВЕНТС ВУТ 500 ЭГ
Описание
Приточно-вытяжные установки ВУТ ЭГ с электрическим нагревателем представляют собой полностью готовые вентиляционные агрегаты, обеспечивающие фильтрацию, и подачу свежего воздуха в помещения и удаление загрязненного. При этом тепло вытяжного воздуха передается приточному воздуху через пластинчатый рекуператор. Все модели предназначены для соединения с круглыми воздуховодами номинальным диаметром 125, 150, 160, 200, 250, 315 мм.
Модификации
ВУТ ЭГ – модели с электронагревателем, вентиляторами с асинхронными моторами, рекуператором перекрестного тока.
Корпус
Корпус изготовлен из алюмоцинковой стали с внутренней тепло- и звукоизоляцией из минеральной ваты толщиной 25 мм.
Фильтр
Для фильтрации приточного и вытяжного воздуха в установке имеется два встроенных фильтра со степенью очистки G4 (на вытяжке) и F7 (на притоке).
Вентиляторы
Установки оснащены приточным и вытяжным центробежными вентиляторами двустороннего всасывания с загнутыми вперед лопатками и встроенным термостатом защиты с автоматическим перезапуском. Электродвигатели и рабочие колеса динамически сбалансированы в двух плоскостях. Шариковые подшипники качения электродвигателей не требуют обслуживания, срок службы составляет не менее 40000 часов.
Рекуператор
В установках применяются высокоэффективные рекуператоры, выполненные из алюминиевых пластин. Под блоком рекуператора расположен поддон для сбора и отвода конденсата.
Нагреватель
Для эксплуатации приточно-вытяжной установки при низкой температуре наружного воздуха установлены электрические нагреватели. Если с помощью рекуперации тепла не удается достигнуть заданного значения температуры приточного воздуха, то автоматически включается калорифер и подогревает воздух, поступающий в помещение.
Управление и автоматика
Установка укомплектована встроенной системой автоматики и многофункциональным пультом управления с графическим индикатором.
В стандартный комплект установки входит провод длиной 10 м для соединения с пультом. Для предотвращения процесса обмерзания рекуператора применяются электронная защита от обмерзания с применением байпаса и нагревателя. Суть ее состоит в том, что по датчику температуры происходит открытие заслонки байпаса и весь приточный воздух проходит мимо рекуператора по обводному каналу. На период размораживания рекуператора приточный воздух нагревается до необходимой температуры в нагревателе. Во время оттаивания теплый вытяжной воздух прогревает рекуператор. Затем заслонка перекрывает байпас, нагреватель выключается, приточный воздух снова проходит и подогревается через рекуператор и вся установка работает в обычном режиме.
Функции управления и защиты ВУТ ЭГ
- включение и выключение установки;
- возможность с помощью пульта управления задавать желаемую температуру приточного воздуха и поддерживать заданную;
- возможность регулировки скорости вращения вентилятора и, соответственно, изменения производительности установки с помощью пульта управления;
- возможность подключать электроприводы воздушных заслонок и управлять ими;
- при включении и выключении установки отрабатываются необходимые алгоритмы;
- установка может работать по недельному таймеру;
- активная защита ТЭНов калорифера от перегрева;
- исключение работы электрокалорифера без включения вентилятора;
- установлены два термостата защиты электрокалорифера от перегрева;
- система автоматики защищена от короткого замыкания автоматическим выключателем;
- контролируется степень засорения фильтра.
|
Приточно-вытяжная установка оснащена дистанционным пультом управления, который обеспечивает:
|
![]() |
Опции к установкам

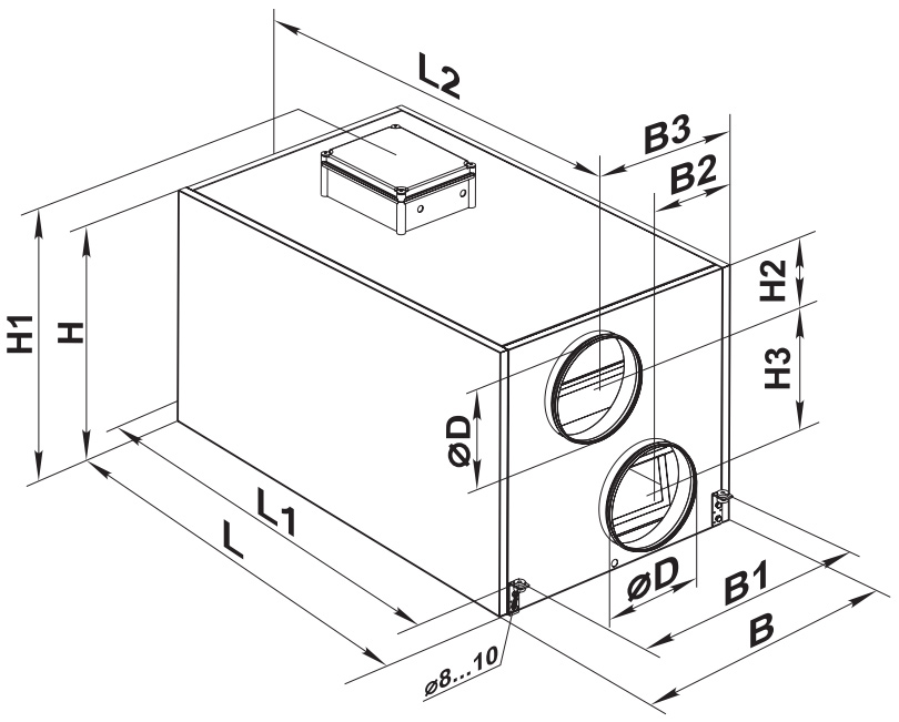
Габаритные размеры
| Размеры | ?D | B | B1 | B2 | B3 | H | H2 | H3 | L | L1 | L2 |
| мм | 149 | 497 | 403 | 348 | 248 | 554 | 111 | 230 | 954 | 996 | 1054 |
Отзывы о Приточно-вытяжная установка ВЕНТС ВУТ 500 ЭГ
Вопросы и ответы (FAQ) Приточно-вытяжная установка ВЕНТС ВУТ 500 ЭГ













