Описание Приточно-вытяжная установка ВЕНТС ВУТ 350 ПЭ ЕС
Описание
Приточно-вытяжные установки ВУТ ПЭ EC с электрическим нагревателем представляют собой полностью готовые вентиляционные агрегаты, обеспечивающие фильтрацию, подачу свежего воздуха в помещения и удаление загрязненного. При этом тепло вытяжного воздуха передается приточному воздуху через пластинчатый рекуператор.
Применяются в системах вентиляции и кондиционирования помещений различного назначения, требующих экономичного решения и управляемой системы вентиляции. Применение ЕС-моторов позволяет уменьшить потребление электроэнергии в 1,5-3 раза и при этом обеспечить высокую производительность и низкий уровень шума. Все модели предназначены для соединения с круглыми воздуховодами номинальным диаметром 160 (150), 200, 250, 315 и 400 мм.
Модификации
ВУТ ПЭ ЕС – модели с электронагревателем.
Корпус
Корпус выполнен из алюмоцинка с внутренней тепло- и звукоизоляцией из минеральной ваты толщиной 20 мм (в установках ВУТ ПЭ 350, 600, 1000) и 50 мм (в установках ВУТ ПЭ 2000, 3000).
Фильтр
Для фильтрации приточного и вытяжного воздуха в установке имеется два встроенных фильтра со степенью очистки G4.
Двигатель
Используются высокоэффективные электронно-коммутируемые (ЕС) моторы постоянного тока с внешним ротором, оборудованные рабочим колесом с загнутыми назад лопатками. Такие моторы являются на сегодняшний день наиболее передовым решением в области энергосбережения. ЕС-моторы характеризуются высокой производительностью и оптимальным управлением во всем диапазоне скоростей вращения. Несомненным преимуществом электронно-коммутируемого двигателя является высокий КПД (до 90%).
Рекуператор
В установках применяются противоточный канальный рекуператор из полистирола (для установок ВУТ ПЭ 350, 600, 1000) и пластинчатый рекуператор перекрестного тока из алюминия (для установок ВУТ ПЭ 2000, 3000). Под блоком рекуператора расположен поддон для сбора и отвода конденсата.
Нагреватель
Для эксплуатации приточно-вытяжной установки при низкой температуре наружного воздуха установлен электрокалорифер. Если с помощью рекуперации тепла не удается достигнуть заданного значения температуры приточного воздуха, то автоматически включается калорифер и нагревает воздух, поступающий в помещение.
Автоматика
Установка укомплектована встроенной системой автоматики и многофункциональным проводным пультом управления с графическим индикатором. В стандартный комплект установки входит провод длиной 10 м для соединения с пультом. Для предотвращения процесса обмерзания рекуператора применяются электронная защита от обмерзания с применением байпаса и нагревателя. Суть ее состоит в том, что по датчику температуры происходит открытие заслонки байпаса и приточный воздух проходит мимо рекуператора по обводному каналу. На период размораживания рекуператора приточный воздух нагревается до необходимой температуры в нагревателе. Во время оттаивания теплый вытяжной воздух прогревает рекуператор. Затем заслонка перекрывает байпас, нагреватель выключается, приточный воздух снова проходит через рекуператор и вся установка работает в обычном режиме.
Функции управления и защиты ВУТ ПЭ ЕС
- включение и выключение установки;
- возможность с помощью пульта управления задавать желаемую температуру приточного воздуха и поддерживать заданную;
- возможность регулировки скорости вращения вентилятора и, соответственно, изменения производительности установки с помощью пульта управления;
- возможность управления электроприводами воздушных заслонок;
- при включении и выключении установки отрабатываются необходимые алгоритмы;
- работа установки по недельному таймеру;
- активная защита от перегрева ТЭНов калорифера;
- исключение работы электрокалорифера без включения вентилятора;
- установлены два термостата для защиты электрокалорифера от перегрева;
- система автоматики защищена от короткого замыкания автоматическим выключателем;
- контролируется степень засорения фильтра.
Приточно-вытяжная установка оснащена дистанционным пультом управления, который обеспечивает:
- включение/выключение вентиляционной установки;
- установку необходимого расхода воздуха;
- установку необходимой температуры приточного воздуха;
- отображение комнатной температуры;
- отображение неисправности (аварийной ситуации).
Опции к установкам


Монтаж
Приточно-вытяжная установка подвешивается к потолку. Установку можно разместить как во вспомогательных помещениях, так и в основных (за подвесным потолком, в нише или открытым способом). Монтировать можно только в таком положении, чтобы обеспечить сбор и отвод конденсата. Доступ для сервисного обслуживания и чистки фильтра со стороны боковой панели.
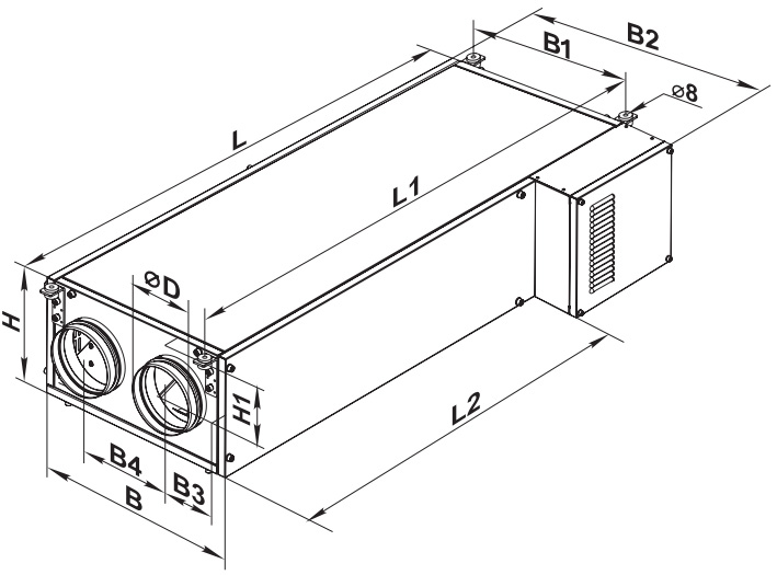
Габаритные размеры
| Размеры | ?D | B | B1 | B2 | B3 | B4 | H | H1 | L | L1 | L2 |
| мм | 160 | 485 | 415 | 596 | 133 | 220 | 285 | 130 | 1238 | 1286 | 948 |
Отзывы о Приточно-вытяжная установка ВЕНТС ВУТ 350 ПЭ ЕС
Вопросы и ответы (FAQ) Приточно-вытяжная установка ВЕНТС ВУТ 350 ПЭ ЕС








