Описание Приточно-вытяжная установка ВЕНТС ВУТ 400 ВГ ЕС
Описание
Приточно-вытяжные установки ВУТ ВГ ЕС с водяным нагревателем представляют собой полностью готовые вентиляционные агрегаты, обеспечивающие фильтрацию и подачу свежего воздуха в помещения и удаление загрязненного. При этом тепло вытяжного воздуха передается приточному воздуху через пластинчатый рекуператор. Применяются в системах вентиляции и кондиционирования помещений различного назначения, требующих экономичного решения и управляемой системы вентиляции. Применение ЕС-моторов позволило уменьшить потребление электроэнергии в 1,5-3 раза и при этом обеспечить высокую производительность и низкий уровень шума. Предназначены для соединения с круглыми воздуховодами номинальным диаметром 150, 160, 200 мм.
Модификации
ВУТ ВГ ЕС – модели с водяными (гликолевыми) нагревателями, вентиляторы с EC-моторами, в комплекте противоточный канальный шестигранный рекуператор.
Корпус
Корпус изготовлен из алюмоцинковой стали со внутренней тепло- и звукоизоляцией из минеральной ваты толщиной 25 мм.
Фильтр
Для фильтрации приточного и вытяжного воздуха в установке имеется два встроенных фильтра со степенью очистки G4 (на вытяжке) и F7 (на притоке).
Вентиляторы
Используются высокоэффективные электронно-коммутируемые (ЕС) моторы постоянного тока с внешним ротором, оборудованные рабочим колесом двустороннего всасывания с загнутыми вперед лопатками. Такие моторы являются на сегодняшний день наиболее передовым решением в области энергосбережения. ЕС-моторы характеризуются высокой производительностью и оптимальным управлением во всем диапазоне скоростей вращения. Несомненным преимуществом электронно-коммутируемого двигателя является высокий КПД (до 90%).
Рекуператор
В установках применяются высокоэффективные рекуператоры (порядка 95%). В моделях ВУТ ВГ ЕС рекуператоры противотока выполнены из полистирола. Под блоком рекуператора расположен поддон для сбора и отвода конденсата.
Нагреватель
Для эксплуатации приточно-вытяжной установки при низкой температуре наружного воздуха установлены водяные нагреватели. Если с помощью рекуперации тепла не удается достигнуть заданного значения температуры приточного воздуха, то автоматически включается калорифер и подогревает воздух, поступающий в помещение.
Управление и автоматика
Установка укомплектована встроенной системой автоматики и многофункциональным пультом управления с графическим индикатором. В стандартный комплект установки входит провод длиной 10 м для соединения с пультом. Для предотвращения процесса обмерзания рекуператора применяются электронная защита от обмерзания с применением байпаса и нагревателя. Суть ее состоит в том, что по датчику температуры происходит открытие заслонки байпаса и весь приточный воздух проходит мимо рекуператора по обводному каналу. На период размораживания рекуператора приточный воздух нагревается до необходимой температуры в нагревателе. Во время оттаивания теплый вытяжной воздух прогревает рекуператор. Затем заслонка перекрывает байпас, нагреватель выключается, приточный воздух снова проходит и подогревается через рекуператор и вся установка работает в обычном режиме.
Функции управления и защиты ВУТ ВГ ЕС
- включение и выключение установки;
- контроль за температурой приточного воздуха посредством воздействия на привод трехходового вентиля, регулирующего подачу теплоносителя в жидкостный нагреватель;
- защита жидкостного нагревателя от замерзания (по датчику температуры воздуха после нагревателя и по датчику температуры обратного теплоносителя;
- управление электроприводом обходного клапана рекуператора;
- управление и контроль за работой внешнего циркуляционного насоса, установленного на линии подачи теплоносителя в жидкостный нагреватель;
- защита рекуператора от обледенения;
- управление и контроль за работой приточного и вытяжного вентиляторов;
- контроль загрязненности фильтров (по количеству моточасов);
- управление электроприводами внешних воздушных клапанов (приточного и вытяжного).
Приточно-вытяжная установка оснащена дистанционным пультом управления, который обеспечивает:
- включение/выключение вентиляционной установки;
- установку необходимого расхода воздуха;
- установку необходимой температуры приточного воздуха;
- отображение комнатной температуры.
Опции к установкам
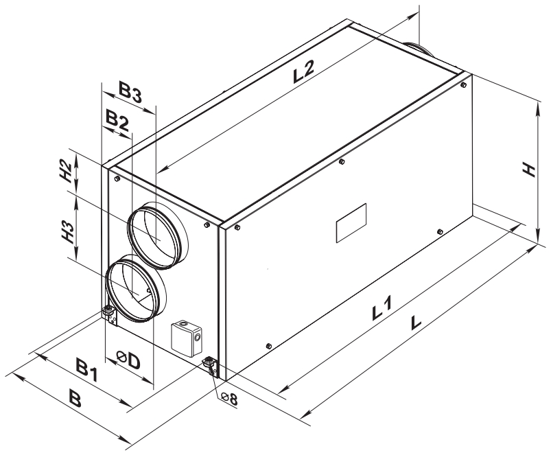
Габаритные размеры
| Размеры | ?D | B | B1 | B2 | B3 | H | H2 | H3 | L | L1 | L2 |
| мм | 199 | 500 | 403 | 161 | 249 | 555 | 127 | 231 | 1092 | 1137 | 1198 |
Отзывы о Приточно-вытяжная установка ВЕНТС ВУТ 400 ВГ ЕС
Вопросы и ответы (FAQ) Приточно-вытяжная установка ВЕНТС ВУТ 400 ВГ ЕС
















