Опис Рекуператор Вентс ПР 150 G4
Пластинчастий рекуператор Вентс ПР 150 G4 використовується для рекуперації тепла в системах вентиляції та кондиціювання. Рекуператор приєднуються до повітроводів діаметром 150 мм. Застосування рекуператора дозволяє зменшити втрати теплової енергії на нагрівання припливного повітря, що суттєво знижує експлуатаційні витрати.
Рекуператор комплектується двома фільтрами з класом очищення G4. Ефективність рекуперації – до 75%.
Конструкція
Корпус виконаний з алюмоцинкової сталі. Внутрішня частина ізольована пенофолом для зменшення рівня шуму та втрат тепла. Теплообмін відбувається через утилізатор із тонких полістирольних пластин із високоефективною теплопередачею. У рекуператорах передбачена можливість дренажу конденсату (який може утворюватися на поверхнях теплообмінника) у нижній частині пристрою.

Приклад використання рекуператора з круглими канальними вентиляторами
Рекуператор встановлюється у закритому приміщенні з температурою навколишнього повітря від 1°C до +40°С та з відносною вологістю не вище 80%.
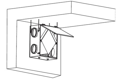
Пристрій повинен бути змонтований таким чином, щоб він мав доступ до сервісного обслуговування або ремонту. Підвішується на різьбових стрижнях (шпильках) до стелі або кронштейнів.


Відгуки про Рекуператор Вентс ПР 150 G4
Питання та відповіді (FAQ) Рекуператор Вентс ПР 150 G4
Аеродинамічні характеристики Рекуператор Вентс ПР 150 G4












